12月4日,国网新能源云公布了陕西电网的机制电价竞价的出清结果,共计6501个项目入围。其中:
2026年按光伏竞价项目竞价出清结果:机制电量规模5229999.988兆瓦时,机制电价水平0.3500元/千瓦时,项目6433个。
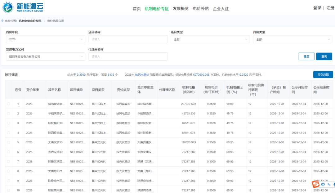
2026年按风电竞价项目竞价出清结果:机制电量规模6270000.006兆瓦时,机制电价水平0.3520元/千瓦时,项目68个。
根据此前发布《2025-2026年陕西省增量新能源项目机制电价竞价组织公告》的要求:陕西竞价启动:电量115亿度,上下限0.23~0.3545元/度。
电量规模:机制电量总规模为115亿千瓦时。其中风电为62.7亿千瓦时,光伏为52.3亿千瓦时。
竞价上下限:竞价上限为每千瓦时0.3545元,下限为每千瓦时0.23元。
陕西省部分入围项目截图如下:查看全部项目清单点击↓阅读原文

